910.16.1 Arbeid i høyden

Se også 910.18
Arbeid i høyden er arbeid som kan medføre fall til lavere nivå. Eksempler på slikt arbeid kan være arbeid på tak og i stige, arbeid på dekker og i stillas, arbeid i personløfter (lift) med mere. Fall er en av de vanligste årsakene til skader og dødsfall på arbeidsplassene.
Lov og forskrift
Arbeidsmiljølovens første paragraf inneholder formålet med loven, her vist ved et utsnitt av § 1-1:
Lovens formål er:
- å sikre et arbeidsmiljø som gir grunnlag for en helsefremmende og meningsfylt arbeidssituasjon, som gir full trygghet mot fysiske og psykiske skadevirkninger ...
Krav til sikkerhet i arbeidet er utdypet i § 4-1 i loven.
Forskrift om utførelse av arbeid - bruk av arbeidsutstyr og tilhørende tekniske krav er Arbeidstilsynets overordnede hjemmel for krav om sikring.
Endringene som gjaldt kapittel 17 Arbeid i høyden trådte i kraft 1. januar 2016, nr. 806.
Til forskriften er det laget utfyllende kommentarer.

Om risikovurdering
Til grunn for alle sikringstiltak skal det utarbeides en "sikker jobbanalyse" (SJA) se 910.10.
Det er arbeidsgivers ansvar å vurdere risikoen ved arbeid i høyden slik at arbeidet kan utføres på en sikker måte. Arbeidsgiver skal også påse at Arbeidstilsynets regler overholdes. Risikovurderingen skal ta hensyn til:
- prioritering av kollektiv fallsikring - alle som jobber i høyden skal være sikret (eksempelvis med rekkverk), være informert og ha kunnskap
- dimensjonering og valg av type fallsikringsutstyr
- bygging og bruk av stillaser, gangbroer og trapper
- tilpassing av atkomstveier og atkomstens høyde
- evakuering i nødssituasjoner
- nødvendige sikringstiltak mot fall
- atkomst fra stillas til tak bør ha trapp, hopping fra tak til stillas medfører stor risiko.
Bruk av stillas
Se 910.18.
Bruk av stiger
- Alle stiger, uansett høyde, skal sikres.
- Stige skal i hovedsak brukes til adkomst, og ikke som arbeidsplattform.
- Stige kan brukes når det på bakgrunn av risikovurdering ikke vil være hensiktsmessig å bruke annet og sikrere arbeidsutstyr.
- Stigen skal oppstilles på en slik måte at stabiliteten er sikret under bruk.
- Stigen skal sikres mot utglidning. Så langt det er praktisk mulig skal stigen festes i toppen eller sikres på annen måte.
- Stiger må rage minst 1 meter over adkomstnivået.
- Nå er en stige skal brukes som atkomst skal den alltid sikres i toppen.
- Det skal ikke brukes frittstående stiger som er høyere enn 6 meter.
- Kombistiger skal ikke brukes høyere enn 4 meter.
Bruk av tau
- Arbeidsgiver skal vurdere risikoen og finne bruk av tau forsvarlig.
- Bruk av annet utstyr er vurdert uhensiktsmessig.
- Tausystemet skal bestå av minst to tau (arbeidstau og sikkerhetstau) med separate fester.
- Kun dersom arbeidsgiver finner at bruk av to tau vil gjøre arbeidet farligere, kan det brukes ett tau, pluss tiltak som ivaretar sikkerheten.
- Det skal benyttes egnet sele festet til sikkerhetstauet.
- Tauene skal være utstyrt med godkjente sikkerhetsinnretninger og automatiske låssystem.
- Sikkerhetstauet skal ha bevegelig fallsikringsutstyr som følger arbeiderens bevegelser.
- Verktøy og utstyr skal være sikret til seler eller på annen egnet måte.
- Arbeidet skal planlegges nøye og overvåkes for hjelp i en nødssituasjon.
- Det skal gis opplæring i bruk av utstyr, og instruksjon om rutiner ved redningsarbeid.
- Ved valg av utstyr skal det tas hensyn til arbeidets varighet og ergonomiske belastninger.
- Fallsele skal benyttes der det er fare for fall fra høyde.
- Sikkerhetstau, seler og festepunkter skal tåle påkjenningskreftene.
Arbeid på tak
Forut for arbeidet skal det gjennomføres en Sikker Jobb Analyse (SJA). Analysen skal konkludere med konkrete planer og tiltak som reduserer risikoen. Alle involverte skal delta i analysen, selv om arbeidet er kortvarig. For midlertidige arbeider tillates det at det benyttes personlig fallsikringsutstyr som eneste sikring, men for at arbeidet skal kunne betegnes som midlertidig må alle følgende kriterier oppfylles:
- at arbeidet innebærer inspeksjon, mindre reparasjons- eller vedlikeholdsarbeid
- at det ikke er oppføring av nybygg, tilbygg eller påbygg
- at totalt arbeidsomfang ikke overstiger 4 timeverk
- at det fremgår av risikovurderingen at arbeidet kan utføres på en trygg og sikker måte
Arbeidstakere skal ha sikker atkomst til arbeidsområdet, og kunne oppholde seg der i full sikkerhet for å utføre nødvendig kontroll samt produksjon-, justerings- og vedlikeholdsarbeid.
Påbudt verneutstyr som alltid skal brukes
- Hjelm
- Sikkerhetssele (ved behov)
- Personlig verneutstyr
- HMS.-kort
Flate tak
Tak med helning på inntil 6 grader kan betraktes som flate tak. Dersom de stedlige forhold, som for eksempel takets overflatemateriale, værforhold og lignende har innvirkning på sikkerheten, kreves sikring tilsvarende som for skrått tak. En slik vurdering må fremkomme i risikovurderingen av arbeidet som skal gjøres.
Ved arbeid på tak med fare for fall på over 2,0 meter skal arbeidstaker alltid sikres fra å falle ned. Det kreves at det benyttes kollektive vernetiltak, som rekkverk eller stillas. Rekkverk skal være minimum 1,0 meter, med hånlist, knelist og fotlist. Rekkeverket skal tåle vanlig belastning, gjeldende for rekkverk. Utsparinger, takvinduer og lignende i arbeidsområdet skal sikres, enten med rekkverk eller ved at de tildekkes med solide materialer som festes forsvarlig. Krav om rekkverk eller stillas kan unntas ved midlertidig arbeid. Det må da benyttes personlig fallsikringsutstyr.
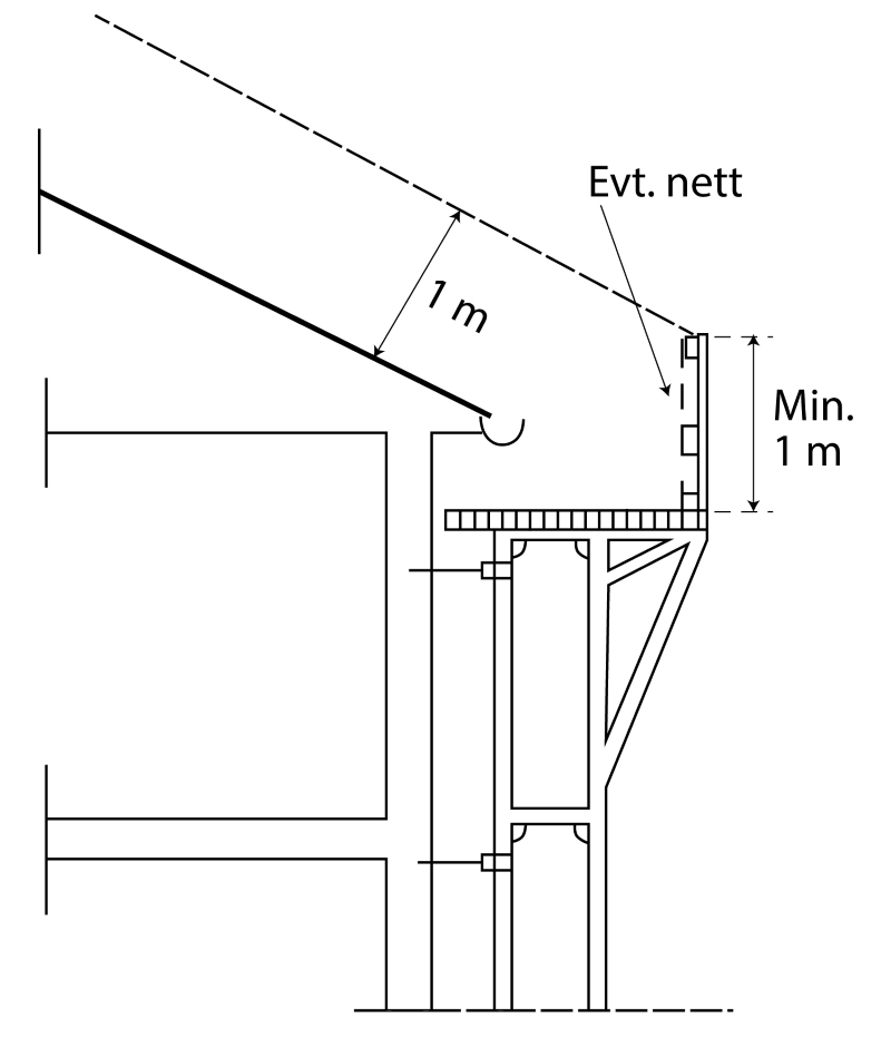
Skrå tak
Tak med helning over 6° regnes som skrått tak.
Ved arbeid på tak med fare for fall på over 2,0 meter skal arbeidstaker alltid sikres mot å falle ned. Det kreves at det benyttes kollektive vernetiltak, som rekkverk eller stillas. Rekkverk skal være minimum 1,0 meter, med håndlist, knelist og fotlist. Se figur.

Figur 2. Rekkeverket skal tåle den største beregnede belastning ved fall av personer.
Bruk av personløfter (lift)
Med personløfter menes arbeidsutstyr med arbeidsplattform eller kurv som er konstruert for å løfte eller transportere personer, og som styres fra plattformen eller kurven.
Ved bruk av personløfter skal brukeren ha dokumentert opplæring. Opplæringen skal gi kunnskaper om de krav som stilles til sikker bruk og betjening i forskrifter og bruksanvisning. Kursene har som regel en dags varighet og inneholder teori og praksis. Kompetansebevis skal utstedes til deltakerne for å oppfylle lovens krav til dokumentasjon. Liften skal være bygget etter en harmonisert standard eller typegodkjent av et teknisk kontrollorgan. Arbeidsgiver skal sørge for at sakkyndig kontroll av personløfteren dokumenteres.
Spesielle forhold
Se Forskrift om utførelse av arbeid kapittel 17.

Figur 3. Bygging av stillas krever god sikring.